最新文章 |
油品鹤管的装卸作业相关流程图文解说
上部卸油工艺流程
上部卸油--是通过鹤管从油罐车上部用泵或虹吸自流的方法将油卸车。
------这是我国铁路卸油广泛采用的方法。
流程: 泵卸油 、虹吸自流。
1、泵卸油流程:
设备介绍及表达方式;流程及管网的连接—详讲;此图工艺上存在的问题?
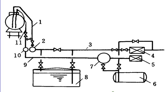
轻油装卸系统简图
1-鹤管;2-集油管;3-输油管;4-输油泵;5-真空泵;6-放空罐;7-真空罐;8-零位油罐;9-真空管;10-扫舱总管;11-扫舱短管
泵卸油流程的三大系统:
输油系统的作用:输转油罐车与储油罐内的油品。
设备:鹤管、集油管、输油管和输油泵等。
真空系统的作用:填充鹤管的虹吸和收净油罐车底油。设备:真空泵、真空罐、真空管线和扫舱短管等。
放空系统的作用:装卸完毕后,将管线中的油品放空,以免下次输送其它油品时造成混油现象或易凝油品冻结于管线中。
设备:放空罐和放空管线。
存在的问题:
从油罐车内卸出的油品可直接泵送至储油罐,不经过零位罐,减少了油品损耗。必须设置高大的鹤管、栈桥和真空系统等,设备多、操作复杂,并往往形成气阻(?),影响正常卸油。
适用场合:平原大型油库
2、自流卸油流程:
1-鹤管;2-真空管;3-集油管;4-真空罐;5-抽底油管;6-零位油罐;7-离心泵;8-储油区
当油罐车高于零位油罐并具有足够的位差时,即可采用虹吸自流卸油。鹤管必须具有抽真空或填充油料的设备。虹吸自流卸油的优点:不受泵和动力的影响。缺点:卸油后,多一次输转,增加了油品的蒸发损耗。
自流装车流程:
凡地形高差可以利用并具备自流装车条件的油库,应尽量采用自流装车。
3、下部卸油流程:
1-油罐车下卸器;2-软管;3-集油管;4-油泵
设备:油罐车下卸器、输油管路等组成。罐车下卸器与集油管的连接方式:是橡胶管或铝制卸油臂完成的。优点:采用下部卸油,克服了上部卸油的全部缺点,地面建筑少,有利于对空隐蔽和操作。


